日本有关部门公布了一个新的PSVR专利设计,可能在暗示一款无线的PSVR头戴设备。可想而知,PS5问世的同时,PSVR也必将升级换代,可能会被命名为PSVR2。根据日本最新公开的专利设计,索尼的次世代PSVR设备很可能会采用无线影音传输技术。专利并没有直接描述无线PSVR设备,专利内容本身是自动切换无线信号的频率,从而确保用户在来回移动的时候保持稳定的连接。但专利的图片范例展示用的是PSVR数据盒发射5GHz到60GHz之间的无线信号,实现从主机到头戴设备之间的无线信号传输。“一台频段决定设备,一台头戴显示设备,一个频段决定方法,一个可以切换频段的程序,可以根据交流设备与匹配设备位置改变而提早进行交流。”因为60GHz的信号传输更加直线、速度更快、传输范围更短;而5GHz信号则可以在60GHz信号受到干扰时维持
次世代主机很可能会在2020年正式发售,但所有玩家在入手次世代主机之前都要问一个问题:买了游戏及以后能玩什么游戏?新主机首发同期的游戏作品可以说相对单薄,远远无法与主机寿命周期中后期的作品相比,但是我们现在对PS5的首发阵容充满了幻想。当然,希望终归是希望,并非所有希望都能成为现实。但希望是我们这个年代像钻石一样珍贵的东西,只有希望才能让我们精彩地体验人生。所以下面就是我们先抛砖引玉,简单列出我们希望中的最梦幻的PS5首发游戏阵容。首先需要说明,我们能想到的都只有各个大品牌的续作,因为原创新IP都还在保持神秘,谁也猜不到。《杀戮地带》续作因为《杀戮地带:暗影坠落》是PS4同步首发独占作品之一,所以PS5的护航首发阵容里也应该会有《杀戮地带》的续作。或者换成《抵抗》系列的新作也可以。《血源2》虽然一开始许多人都认
索尼下一世代主机(被称之为PS5但依然没有官方名称)的发行窗问题是不少玩家一直在讨论的一个问题,也是投资分析师群体也抱有很大兴趣的一个问题。即使在日本地区分析师的眼里,其发行窗也没有定论。在几天前我们了解到东京地区乐天证券经济研究所的知名分析师安田秀树认为这款主机可能会在2020年末推出。而另一位分析师今中能夫最近也公布了他对索尼最近财报的分析,他对这款主机发行窗的预测要比那位同事稍微晚一些。他认为虽然有可能PS5会在2020年4月到2021年3月的财年里推出,但可能性不大。另一方面,今中觉得其在2021年4月-2022年3月的财年里推出的概率更高一些。他还提到PS4没有可能会在2020年3月之前推出。当然分析师们争相预测这一发行窗问题很正常。今中自己也表示,无论这台主机何时到来,它都不将仅仅只影响索尼的游戏/
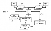
围绕着索尼和PS5的传言在游戏业界已经发酵了好几个月,不少分析师以及机构指出,次世代的主机一定会拥有向下兼容技能blablabla,但是不论是索尼还是微软两家都没有对此发表确切的态度。然而最近索尼提交的一项专利申请可能暗示了他们将满足群众的需求。 上图为网传概念图 根据总结,索尼新提交的这份专利的描述是“为实现向后兼容而模拟传统总线操作(Simulation of legacy bus operation for backward compatibility)(专业名词小编渣翻,有问题请大佬指正。)”。接下来的描述为:“为了处理在用新设备执行旧应用程序时由于总线操作差异而导致的问题,新设备模拟旧设备的总线操作并执行旧应用程序,您可以在执行时调整总线性能。” 此外,该专利还将Mark Cerny列为发明者之一。C
索尼在本世代追求精品单机游戏的战略起到了很好的效果,涌现了《神秘海域4》、《地平线:零之黎明》、《战神4》和《漫威蜘蛛侠》等大量叫好又叫座的独占游戏。不过在即将到来的下个世代,索尼可能会在保持开发精品单机游戏的同时加强在多人游戏上的投入。 在接受Business Insider采访时,PlayStation高管Shawn Layden谈到了多人游戏,这是最近几年来PlayStation独占游戏中一直缺少的一个点,同时也是索尼在PS5上可能会加倍努力的一个方向。“本地合作,我认为这是整个行业需要重新审视的一个范畴。我们在运动游戏以及一些竞速游戏上支持这个,但其他地方就没有了。我认为一方面是因为互联网的强大,但我们可能会重返这个范畴,让游戏体验有更多的家人参与。不过,我所指的概念更宏大,比如《GTAOL》或是《使命
目前大部分玩家和媒体预测索尼和微软的次世代主机已经不远了,很有可能就会在2020年正式发售。根据最近的一系列报告显示,这种猜测实现的可能性越来越大,已经有不少开发商正在研发次世代游戏,就连索尼的第一方工作室也已经开始面向PS5进行软件开发。 PS5和Xbox猩红肯定不会太远了,现在主要讨论的问题就是他们究竟能够给玩家呈现怎样的东西。至于开发商方面,他们对次世代主机有何期待呢?最近,曾经制作过开放世界动作RPG游戏《物质世界》的开发商Nine Dots工作室CEO Guillaume Boucher-Vidal接受了采访,对这个问题进行了回答。Boucher-Vidal对此问题的回应非常简单,那就是性能。不过他指的性能并不是想要实现更强的视效,更高的分辨率和更高的帧率那种,当然能达到这些也不错。他主要指的是能够支
随着当代主机渐入尾声,关于次世代PlayStation和Xbox的传言和猜测每隔一段时间就会冒出来。最近Ace研究所分析师Hideki Yasuda预测,PS5将是一个高端主机,首发价格将是499美元。对比来说,2013年PS4首发价格为399美元。Yasuda表示,PS5首发价格也有可能会低于499美元,比如和PS4一样是399美元。如果是这样,那么索尼的收入将会深受重创,因为主机价格要远远低于生产成本。实际上,即便是卖499美元,PS5仍然是亏损的,因为玩家对新主机的性能提升抱有很有很高的期待,而这所需要的技术也是不菲。不过考虑到PS4的巨大成功和庞大的装机量市场,索尼为了保持装机率领先而继续走低价策略也是有可能的。Yasuda还预测PS5将于2020年发售,届时将有一个非常强劲的独占3A游戏护航。之前有传
PS5距离我们越来越近,向下兼容也逐渐成为了一个热门话题。之前有报道称,PS5上将会应用到了索尼的向下兼容专利,而最近索尼又有新专利曝光,给这则传闻增添了新的色彩。 之前,Digital Foundry编辑声称PS5的向下兼容是“肯定”存在的,PS5将会至少对PS4进行向下兼容。最近索尼又注册了一项新的专利,Mark Cerny是专利作者之一。这项专利所覆盖的PS5向下兼容可不仅仅是PS4这么简单。索尼日本提交了一项新专利,公示日期是在1月31日。这项专利涉及到一种算法,这种算法可以检测当前正在运行的应用,并使判断应用所对应的平台。 这项专利的目标就是为了让以前的应用在最新的平台比如PS5上运行。使用这种算法,CPU就可以模拟更加古老的游戏代码,在不同的游戏硬件上以原有的模式运行。正如上文所述,这跟之前的让老游
未来正在发生,虽然机器人还没有征服地球,但次世代游戏主机的问世已经指日可待了。有许多报道都称索尼的第一方工作室正在打造次世代大作,还有报道称开发者正在陆续收到次世代PS的开发机。有些人会认为这是期待已久的喜讯,也有人会为PS4的隐退而感到悲伤,或许更多人都介于二者之间喜忧参半。PS4给我们带来了许多美好的回忆,从《血源》到《战神4》,一段段奇幻旅程让玩家逃离每天的疲惫,所以告别PS4也将是一件难以想象的事。但PS4和任何事物都一样,必将迎来终结。现在,PS4上的大作已经出得差不多了,除了《球探足球比分》之外,剩下的几款索尼独占都说不好是登陆PS4还是给PS5护航,《对马岛之鬼》、《美国末日2》和《死亡搁浅》,无不让人对次世代充满了期待。于是PS5应该也差不多要来了。老实讲,谁都不想太频繁地更新主机硬件,但玩家都需要
很显然,现今玩家熟悉的PS4和XboxOne都已经进入了生命的末期,索尼和微软在未来两年内推出PS5和新型Xbox是必然之举。最近根据日本的专利注册信息显示,我们得到了部分疑似PS5的内容。 根据Hokanko-Alt的报道,索尼向日本专利局提交了一项新专利,允许游戏机CPU决定它正在读取的软件是为当前硬件还是过去的硬件设计的。如果游戏机确认所运行的软件来自以前的设备,那么CPU就会模拟旧硬件的CPU。基本上,这是一种只适用兼容运行上一代游戏的机制。在以前不同年代的游戏设备很难做到对老旧游戏的完全兼容,特别是XboxOne对于Xbox360游戏的兼容,微软付出了大量努力。PS4在向下兼容PS3游戏方面并没有满足玩家的期望。这次索尼申请的新专利有望解决PS5对PS4游戏的完美兼容问题。 同样值得注意的是,专利中提
根据GDC(游戏开发者大会)的调查,虽然只有不到20%的游戏开发商开始为PS5制作游戏,但是据Niko Partners的分析师Daniel Ahmad在ResetEra回帖时称,索尼的第一方工作室已经开始全力以赴为公司的下一代产品(PS5)做研发了。 Daniel Ahmad在回复中说:“PS5的开发套件已经研发出来了,我听到了一些相关消息但是基本上都是正面的,但是官方近一段时间应该不会放出相关消息的。”他还指出,目前,玩家们不用期待新主机的消息,今年PS4的游戏阵容方面应该会好转,主要是因为今年的主站和第三方游戏都很给力。 他在另一篇文章中说:“由于PS4庞大的装机量,不断增长的网络销售额和强大的第一方/第三方软件,2019将是该平台又一个稳定的一年,今年上半年PS4的游戏阵容已经大致确定,但是下半年的游戏
下一代主机离我们已经不远了,有传言称2020年至少会发布一款次时代主机,那么大家肯定对次时代主机也会有很多期待,于是有一位独立游戏开发商就说了,跨平台联机将不会是下一代主机的新特性。 那么,大家到底期待着索尼和微软会在PS5和Xbox猩红玩些什么新花样呢?独立游戏《我们的回忆》开发商Juggler Games的Lukasz Janczukco在与GamingBolt的交谈中说:“我们(Juggler Games)希望两家公司(索尼和微软)做的一件事就是继续支持独立游戏开发者。”“我们希望索尼和微软都能继续支持独立游戏开发者,因为我们还有很多故事需要去告诉玩家,我们也希望与主机玩家们进行分享。”他还表示,跨平台游戏不会成为下一代游戏机的新特性,因为跨平台联机并不是一个普遍适用于所有游戏的功能。Lukasz Jan
推特用户Komachi近日分享了一则跟索尼次世代主机有关的产品代码,其中包含了新主机或将采用索尼定制SoC(芯片级系统)、TDP值和运算速度等情报。 推文如下:2G16002CE8JA2_32/10/10_13E9 Decode (Update)2 = ES11600 = Sony Custom SoC (PS5?)2C = TDPE = Package8 = 8CJ = Cache SizeA2 = A2 Stepping (?)32 = 3.2Ghz (Boost)10 = 1.0Ghz (Base)10 = iGPU Clock? (1Ghz?)13E9 = PCI-ID : Navi 10LITE (GFX1000/1001) 根据这些内容,另一位推特用户BoMbY也提供了这些信息来自次世代PS5定制A
根据索尼最近的一则招聘广告,索尼次世代主机PS5将非常注重游戏串流功能。 索尼在招聘站点Greenhouse.io上发布了一个新的广告,寻求一名高级网络操作工程师。这份工作需要应聘者开发索尼网络系统,为PS Now串流服务提供强力、低延迟的网络。而这些技术开发将有助于打造次世代PlayStation支柱。因为广告上还写着帮助“自动化第一操作团队”,“在我们打造次世代PlayStation支柱过程中,提高我们的效率以及快速扩张的能力。”当广告被粉丝发现后,索尼删除了上文中提到的“次世代PlayStation支柱”。招聘广告似乎暗示游戏串流将是PS5的其中一个重要功能。尽管PS Now已经非常成功了,但索尼可能想在PS5上进一步强化。值得一提的是,索尼最近还向粉丝发出了一个调查问卷。这份调查提到的问题中就有游戏串流
目前外界正在预测PlayStation4和Xbox One的继承者,据一位分析师称,这两台新机器将在明年的E3大展上发布。在接受Gaming Bolt的采访时,IDC的刘易斯·沃德表示,微软和索尼的现有游戏机在今年可能会获得适度的硬件更新以及一系列3A独家游戏支持,这些都将有助于延长它们的生命。为此,他预测索尼和微软将在明年E3大展上推出全新游戏主机。不过,并非每个人都同意沃德的观点。据报道,索尼已经向者提供了PlayStation 5开发套件。其它传闻表示,PlayStation 5将使用Ryzen 8核处理器,同时使用基于AMD Navi架构而定制的GPU,售价500美元,据说PlayStation 5将于2020年推出,索尼可能在今年透露一些PlayStation 5的官方消息,但是不会在今年E3大展上发
PS5主机已经距离我们越来越近了,甚至有可能会在2019年正式发售。那么对于第九代家用游戏机,玩家们应该有哪些期待呢?作为当代最成功的主机,PlayStation应该为次世代做好哪些准备呢?目前关于PS5的消息绝大部分都是传闻和猜测,那么本文就来一次无责任的大猜想,盘点PS5必须具备的5大特性。 1.向下兼容这个功能是根本不需要考虑的必选项。向下兼容可以让PS4玩家无缝衔接地升级到PS5,即使首发游戏阵容不足,也可以接着玩他们PS4游戏库里没玩完的游戏。当时PS4不兼容PS3主要是技术问题,因为PS3采用了索尼原创设计的架构,虽然专为游戏打造,但却也给开发者出了难题,不仅导致硬件性能没有第一时间得到充分利用,也导致世代更迭以后难以向下兼容。 但现在不一样了,PS4和Xbox One一样也采用了x86架构,不仅方
过去一段时间,一直都有传言称次世代主机将不会搭载光驱,至少在次世代Xbox上可能会是这样。但一般在提到这个传言的时候,人们往往会考虑到带宽,现在游戏越来越大,上百个G的下载量都不算太新鲜,而世界各地的网络条件并不平均,如果推出无光驱版游戏主机,那就相当于扼杀了主机在某些地区畅销的可能性。科幻动作游戏新作《地狱时刻》开发商Cradle Games总监Marc-André Jutras最近发表观点,认为在次世代主机上采用无光驱设计是不太可能的,原因正是带宽问题。他感觉新主机可能会有无光驱的版本,但肯定也会有支持物理介质的主机版本上市。他在接受采访时表示:“我认为次世代可能会看到无光驱的版本,但次世代主机肯定仍然会有支持光盘的版本。原因是,并不是所有人家里都有网络,就算有网络,很多人也没有足以下载80G一个游戏的带宽
跨平台游戏服务在过去的一年时间里已经成为了业界越来越关注的罐体。在坚守城池许久后,索尼的PS4也打开了跨平台游戏的大门,允许《堡垒之夜》实现跨平台服务,为大量的游戏和开发者们带来了新可能。从《勇者斗恶龙建造者2》到《火箭联盟》,更多的游戏都在探索跨平台游戏的机遇。 毫不夸张的说,随着时间的推移,跨平台游戏可能会变得普遍。然而这是否能成为定义下一世代主机的一项功能?PS5和下一代Xbox是否会为跨平台游戏提供全面、定制化的功能?最近外媒Gamingbolt向雪崩工作室采访其开放世界射击游戏新作《零世代》时,话题不可避免的转向了这个方向。而其开发领导Paul Keslin也给出了他的答案:“从近年来趋势来看的话,我认为主机厂商们不会排除这项服务。新技术总是令人振奋的,所有人都迫不及待的想要知道这项技术在未来对玩家和
最近业界对于PS5和次世代Xbox主机有着很多猜测,部分报道称索尼的次世代主机将于2019年到来,还有一些报道介绍了微软对于次世代主机计划的详情。但主流意见仍然认为这两台主机都将定于2020年上市,甚至还有少量意见认为次世代将会拖延到2021年,前提是如果PS4和Xbox One的销量在2019年能延续2018年强势表现的话。Wedbush Securities分析师Michael Pachter表示,索尼和微软将次世代延后到2021年的可能性不大。在最近一次采访中,Pachter表示他感觉索尼将会在PS5上市之后继续以较低的价格继续对PS4进行支持和销售,而微软在Xbox One时代的表现低迷,使得他们更不可能拖延次世代到来的节点。在谈及是否会等到2021年才进入次世代时,Pachter表示:“我不这么认为。
随着本世代主机的生命周期已经时日不多,关于次世代主机的猜测也逐渐成为了热点话题。微软的Phil Spencer就曾公开表示,他们目前正在开发下一代Xbox,而最近有传闻称PS5也将在2019年曝光。这是否意味着两款次世代主机都可能会在2020年之前推出呢?IDC分析师Lewis Ward就认为,情况并非如此。他预计,PS5和下一代Xbox将于2021年推出,但2019年的当代主机硬件销售表现可能会对此产生影响。“我的模型目前预计,两款游戏主机将于2021年首次亮相,比许多分析师认为的要晚一年。2019年的销售情况可能会决定这是否是正确的,并将进一步缩小次世代主机的发布窗口。”同时,他表示索尼跳过E3,基本上代表了PS5不会在2019年推出。
京ICP备14006952号-1 京B2-20201630 京网文(2019)3652-335号 沪公网安备 31011202006753号违法和不良信息举报/未成年人举报:legal@3dmgame.com
CopyRight?2003-2018 违法和不良信息举报(021-54473036) All Right Reserved