任天堂美服eshop现已开启“马里奥日”优惠活动,马里奥系列部分游戏和DLC将参与此次折扣活动。此次优惠截止到3月13日。由于3月10日的英文缩写为“MAR 10”,与马里奥的英文名“MARIO”相似,因此3月10日这一天也成为了马里奥日。除了线上eshop有优惠活动,国外线下实体和其他平台电商也会有马里奥系列的游戏参与折扣活动。美服eshop活动页面:点击此处美服eshop折扣具体内容《马里奥赛车8:豪华版 》 -33% 40.19美元《超级马里奥3d世界+库巴之怒》 -33% 40.19美元《路易吉洋馆3》 -33% 40.19美元《路易吉洋馆3》多人游玩包 &
近日一位美术作家的手工作品引发热议,使用白纸精心打造了任天堂经典FC红白机,听起来好像没什么特别,不过看到实物后惊呆了无数网友,所有细节完全还原实机包括内外,看上去就是实机CG版。?耗费1000多个小时才做出的作品?!撇开耐心和毅力不谈,实际上这个白纸版FC红白机除了颜色是白色的,其他的和真实版FC毫无二致,而且不仅仅只是外观,打开主机甚至拆来手柄后,电路板、连接线甚至晶体管等每一个内外细节均完全还原原机。?据作者小坂学表示,FC是自己小学生时期的沉迷玩具,如今思绪勃发,决定用白纸还原。只是令所有人吃惊的是,作者具有如此惊人的毅力和手工。
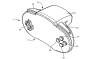
上周黑客对英伟达的攻击获取了大量机密文件,在这其中有大家非常熟悉的DLSS,也有被认为是任天堂准备的新一代Switch的证据。因为在这些文件中有一个名为NVN2的目录。根据国外网站的报道,在这批黑客公开的英伟达机密文件中,有一个名为NVN2的目录、还有一个名为NVNDLSS的目录,另外,也有文件提到了T239。对于玩家来说DLSS并不陌生,但是NVN到底是什么呢?其实,NVN就是英伟达专门为任天堂Switch编写的API。性能孱弱的Switch就是依靠这个技术才实现了一些同等性能移动设备上所没有的画面效果。在这次泄露的文件中发现NVN2或者NVNDLSS,这显然是英伟达与任天堂进行更多合作的证明。而且经常爆料英伟达消息的推特用户 kopite7kimi 也表示T239就是新一代Switch所用的Soc,代号为D
在去年的年底,任天堂推出了Switch Online拓展包的付费服务,其中加入了一些经典的N64和世嘉MD游戏。但是在这项服务推出后不久,有玩家发现拓展包里的N64游戏存在一些例如游戏手柄按键不匹配,声音延迟和图像画面处理等方面的问题。 今日,国外玩家OatmealDome发现,任天堂在发布最新的2.0.0补丁后,似乎有一堆游戏配置更新,之前那个“臭名昭著”的《塞尔达传说:时之笛》水雾画面的问题得到了解决。还在《折纸马里奥》中降低Boss战中的帧速率,修复了死亡时游戏会崩溃的问题。 (左NSO版本,有位N64版本) (2.0.0更新后版本)OatmealDome也在个人推特上发布了他通过数据挖掘得到的具体补丁信息 在特定于游戏的补丁和更改方面:-游戏补丁Lua脚本现已预编译。-未知代码补丁添加到Banjo。-与
任天堂宣布他们将收购长期合作开发伙伴SRD公司。任天堂表示这次收购将强化任天堂在软件开发资源的管理和可用性,同时促进软件开发效率。此次收购将于2022年4月1日完成,届时SRD将成为任天堂的子公司。SRD和任天堂独家合作已经将近40年时间,这家程序辅助工作室为任天堂第一方游戏提供技术支持,尽管双方之间没有正式的资本关系,但SRD的京都办公室就在任天堂开发中心内部。从1983年以来,SRD帮助任天堂开发了海量的游戏,包括《大金刚》《超级马里奥》《动物之森》以及《塞尔达》系列。相似的是,任天堂在去年收购了长期合作伙伴Next Level Games,后者开发了《路易吉洋馆3》《银河战士:同盟力量(Metroid Prime: Federation Force)》。本月早些时候,任天堂社长古川俊太郎评价了微软和索尼的
上周任天堂宣布,由于未经官方同意制作并销售了游玩盗版游戏的设备,任天堂破解团队Xecutor的负责人Gary Bowser(与任天堂经典角色“库巴”同名)将被判入狱40个月,并需要向任天堂支付总计1450万美元的损失费。近日外媒Vice去“参观了”Bowser位于多米尼加共和国的家。从画面中可以看到,Bowser过着极其节俭的生活。家具很少,电脑桌就在冰箱旁边。乍一看,这似乎不是一个通过销售盗版设备赚了数百万美元的人的家。 Bowser的律师告诉法庭,Bowser一直过着简朴的生活,并没有从该组织的活动中大量获利。Bowser 于2020年与49岁的Xecutor 团队另一负责人Max Louarn 一起被美国司法部指控,他被指控招募了投资者和开发商。Louarn还建立了该集团的制造部门及其全球经销商网络。
在2017年3月Switch发售后,任天堂游戏报告的总累计销售收入为598亿美元,其中超过一半的收入来自游戏机销售。这些数据来自任天堂2022年第三季度财报,以及TweakTown网站编辑Derek Strickland的分析。 与其他游戏机制造商不同,任天堂通过销售Switch获利,而且他的大部分收入都来自硬件销售,约600亿美元的收入中有331.6亿美元(约55%)来自游戏机,这个数字包含Wii U和3DS的销售额,但旧游戏机的销售额已显著下降。其余的部分则来自游戏销售,总计售出7.6641亿部Switch游戏。 在售出的Switch中,有8168万台是基础型号,其次是Switch Lite的1787万台,第三是新推出的Switch OLED为399万。尽管Switch目前已进入其上市第六个年头了,但该系列
据外媒VGC报道,将有九个新的任天堂主题乐高套装会在今年内推出,其中一个售价229.99美元,与之前的71374套装零售价相同。这些套装被发现是在Eugene Toy & Hobby的购物网站上被发现,该系列中所有产品的代号相同,皆为“Leaf”。 但这些商品信息在被发现后不久就被删除,但这些数字与去年在德国乐高粉丝网站Promobricks发现的清单相同。该网站当时并不知道这份清单与任天堂有关。Promobricks表示,九套中的八套将于2022年8月1日发布。最贵的一套将于2022年10月1日发布。(71374套装)具体设定编号如下 71403待定– 59.99美元71404待定– 9.99美元71405待定– 19.99美元71406待定– 29.99美元71407待定– 79.99美元7140
任天堂官方昨日宣布将于2023年3月底关闭3DS系列和WiiU的eShop商城,官方也公布了2011 - 2020年的日服3DS数字版游戏下载排名。官方网站:点击此处具体排名2011年数字版游戏下载前三名:《塞尔达传说:梦见岛DX》《超级马里奥大陆》《铁板阵》2012年数字版游戏下载前三名:《来吧!动物森友会amiibo+》《口袋妖怪AR搜索者》《电波人间RPG》2013年数字版游戏下载前三名:《怪物猎人4》《来吧!动物森友会amiibo+》《自行车骑DX》2014年数字版游戏下载前三名:《口袋妖怪战斗方块》《任天堂明星大乱斗3DS》《怪物猎人4G》2015年数字版游戏下载前三名:《怪物猎人:世代》《喵星人大战》《方块创造者3D》2016年数字版游戏下载前三名:《宝可梦皮卡丘》《宝可梦 红》《喵星人大战》201
任天堂官方昨日宣布将于2023年3月底关闭3DS系列和WiiU的eShop商城。之后,玩家仍然可以重新下载之前购买的游戏,但无法再购买新的游戏。据VGC统计,到时候将有1000多款只有数字版的游戏成为绝版。 在此之后,Wii U和3DS的一些游戏仍将作为实体版或通过其他平台提供。然而,相当数量的eShop游戏仅以数字版的形式发布,其中很大一部分是平台独占游戏。这些游戏将成绝版。以任天堂美服为例,目前在3DS和Wii U的eShop商店总共有大约2000款游戏。在中包括大约450款纯数字版Wii U游戏,大约600款纯数字版3DS游戏。根据任天堂自己的eShop数据,目前北美有842款数字版Wii U游戏可供下载,欧洲有838款,日本有684款。其中将在欧洲和北美大概有450款纯数字版游戏,这些游戏在商店关闭后将
任天堂今日在官方推特上宣布,3DS系列和WiiU的eShop商城将于2023年3月底关闭。届时将无法再购买任何内容。已经购买的游戏和DLC可以重新下载,游戏软件可以继续更新,并可以继续享受在线游戏。 从2022年5月23日起,在Wii U或3DS上,将不再可以使用信用卡向任天堂商店的账户中充值。2022年8月29日起,将不再可以使用任天堂点卡充值。不过,在2023年3月底之前,仍然可以兑换下载代码。宝可梦银行功能将会在 2023 年 3 月底(3DS 商店关闭之后)开放免费使用一段时间,可以在此期间搬到 Home 里。此外,任天堂还上线了3DS和WiiU平台的年度回顾,玩家可以登陆查看自己在这两个平台上的游玩时间和数据统计。3DS和WiiU平台的年度回顾网址:点击此处
任天堂目前还不想登上元宇宙列车,因为任天堂表示他们不知道如何利用这一概念来提供“崭新的惊喜和乐趣”。在该公司最近的财务收入QA问答上,社长古川俊太郎被问及任天堂是否有和元宇宙和NFT有关的计划,但古川只回答了前者。古川首先承认很多公司对元宇宙感兴趣,但紧接着他指出元宇宙目前还不符合任天堂的计划。他说:“元宇宙已经吸引了全球很多公司的注意,它有着很大的潜能。目前,还没有简单的方法来明确定义元宇宙能给我们的客户提供什么样的惊喜和享受。作为一家提供球探足球比分的公司,我们的重心在于给我们的客户带来崭新惊喜和乐趣的方法。”那么什么会让古川改变想法?关键在于找到一个适合任天堂自己的方式来利用元宇宙。“如果我们能找到一个方法将任天堂理念传达给很多人能理解的元宇宙,那么我们可能会考虑它,但我们认为目前情况并非如此。”游戏行业许多公司
任天堂欧服eshop现已开启二月特惠活动,此次有超过1000款游戏参与打折,折扣最高至75折。 活动页面:点击此处 部分游戏折扣 《马里奥赛车8豪华版》 折后价33.29英镑(约287元人民币)《塞尔达传说:梦见岛》折后价33.29英镑(约287元人民币)《怪物猎人物语2:毁灭之翼》折后价33.29英镑(约287元人民币)《异度之刃2》 折后价33.29英镑(约287元人民币)《舞力全开2022》 折后价32.99英镑(约284元人民币)《斯普拉顿2》 折后价33.29英镑(约287元人民币)《胡闹厨房2》 折后价4.99英镑(约43元人民币)《大逆转裁判:编年史》 折后价33.09英镑(约214元人民币)《火影忍者:究极忍者风暴》折后价17.99英镑(约155元人民币)《马力欧+疯狂兔子:王国之战》
任天堂今天宣布,任天堂破解团队的负责人Gary Bowser(与任天堂经典角色“库巴”同名)将被判入狱40个月,原因是他制作并销售了托管盗版游戏的设备。虽然这意义重大,但这比美国政府此前要求的5年监禁要少。 此前Eurogamer在一份法庭文件中发现,美国政府最初提议的刑期为60个月。美国政府认为,他们建议刑期反映“犯罪的性质和情节、被告的历史和特点,以及量刑需要反映犯罪的严重性、促进对法律的尊重,以及提供公正的惩罚……对犯罪行为提供足够的威慑。”然而,Bowser的律师团队要求判他更短的刑期,理由是他们的当事人是“这起诉讼中罪责最轻的,也是唯一被逮捕的被告”,这让他成为“首当其冲的”被告。他的律师承认,由于这些罪行,任天堂“遭受了重大的经济损失”,但他们认为19个月的监禁是合适的。最后,法庭达成了妥协,决定判
任天堂对于知识产权的严格在业界一向闻名,上个月底一位知名油管UP主GilvaSunner曾曝料几天内收到任天堂的“要求”,下架了超过1300个视频,不过很快再次透露2月份任天堂给出的要求还要再下架2200个。?擦边球玩不得,尤其是任天堂的,油管博主GilvaSunner主要靠上传任天堂游戏原声带吸引粉丝,截止到目前他的频道已经有接近50万人订阅,随着其知名度越来越高,喜闻乐见的被任天堂法务部盯上了。?近期这2次来自任天堂法务部的“警告”措施将导致油管博主GilvaSunner的视频损失超过3500个,估计其主打事业今后将难以为继了,改行或改变题材势在必行,GilvaSunner本人虽然表示难以接受但也无可奈何。
今天(2月10日)一早的任天堂直面会上,任天堂公开了不少第一方新作以及第三方新预告。1.《火焰纹章:风花雪月 无双》将于2022年6月24日发售 开场就公开了《火焰纹章无双》的续作《火焰纹章无双:风花雪月》,这款游戏加入了《火焰纹章:风花雪月》的人物角色,游戏虽然也设定在风花雪月的世界,但是剧情方面却有所不同。本作将于6月24日发售。 2.《高级战争1+2 Re-Boot Camp》宣布将于4月8日发售 《高级大战争1+2重制版》,这一次游戏中的角色都加入了语音,对于不擅长策略游戏的玩家,本作加入了“悔棋”功能,将于4月8日发售。3.《无人深空》确定登陆2022年夏季登陆Switch平台 4.《马里奥足球:射手联盟》将于6月10日登陆Switch 已经沉寂了多年的马里奥足球系列最新作《马里奥足球:射手联盟》正
任天堂宣布将于北京时间2月10日早上6点举办新一期直面会,时长约40分钟,主要介绍在2022年上半年即将推出的Switch游戏,玩家可以在官方油管频道上观看,我们也会第一时间带来报道,敬请关注。
美国法院判决表示,一位和经典任天堂角色库巴(英文译为 Bowser)同名的黑客应入狱 5 年。这位名叫 Gary Bowser 的黑客在 10 月的一场与任天堂的案件中败诉。此前,任天堂因为他参与的黑客组织 Team Xecuter 而追捕他。该组织以制造并宣传销售大量游戏机的改装芯片以及开发越狱软件而闻名。Gary Bowser 被控两项罪名,分别是“串谋规避技术措施”以及“贩运规避设备”,面临长达 10 年的牢狱之灾。现在法院表示,Bowser 的多项罪名每项都将面临 60 个月(5 年)的有期徒刑,但将同时服刑。法庭文件显示其认为该建议是“适当考虑到‘犯罪的性质和情节’、‘被告的历史和特征’以及‘量刑的必要性’以反映犯罪的严重性,促进尊重法律,并以罪行提供公正的惩罚。”除此之外,Bowser 还已被要求支
欧洲任天堂宣布将于北京时间2月10日(周四)晚10点在eShop上开启一场大型促销活动,届时将会有超过1000款游戏参与打折。 官方表示任天堂eshop2月份的节日大甩卖将为你的世界增添色彩!在色彩丰富的游戏和多人游戏中,您可以随时随地与任何人一起享受高达75%的折扣!官方网页:点击此处 玩家若要从Switch的欧服eshop中购买数字版商品,需要注册欧洲当地的任天堂账号,此账号除国行版外,其他任意版本Switch皆可登陆。欧服eshop支付方式支持账号所在地区的PayPal和信用卡,大陆地区的PayPal不可使用。玩家也可以自行购买欧服eshop点卡,任天堂的点卡不可跨服使用,购买时注意分区。
按照惯例,任天堂一直都有在2月份情人节期间举行直面会的习惯。根据此前一段时间以来的消息,基本上玩家和媒体也都认为任天堂会在这个时间点对外公开2022年上半年的游戏阵容。今天(2月8日),从经常爆料任天堂相关消息的渠道得到确认,任天堂已经完成了本次直面会视频的录制,并且会在本周晚些时候正式确定本次直面会的时间。以上消息来自于经常爆料任天堂相关消息的推特用户Samus Hunter。 根据她的消息,任天堂已经完成了这次直面会视频内容,并且将字幕交给全球各地任天堂分公司以进行本地化翻译工作。她透露本次直面会的时间为35分钟,但是无论直面会的开场、中间还是结尾部分都没有重磅消息公开,但考虑到任天堂有在最后阶段添加重磅消息的习惯,所以这次直面会最后时间很可能会延长至45分钟左右。虽然没有给出本次直面会具体公开的游戏名单,
京ICP备14006952号-1 京B2-20201630 京网文(2019)3652-335号 沪公网安备 31011202006753号违法和不良信息举报/未成年人举报:legal@3dmgame.com
CopyRight?2003-2018 违法和不良信息举报(021-54473036) All Right Reserved